hollow molding

Isaac Kremer/ January 14, 2018/ / 0 comments

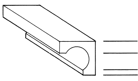
A concave molding that forms more than a half circle; the opposite of roll molding. (Phillips, 1994)

gorge, trochilus
Share this Post

About Isaac Kremer

IsaacKremer.com is the personal website of Isaac Kremer, MSARP, a nationally recognized leader in the Main Street Approach to commercial district revitalization with over 25 years of experience. Kremer, New Jersey's first certified Main Street America Revitalization Professional (MSARP), has served as founding executive director for organizations like Experience Princeton and the Metuchen Downtown Alliance, which won a Great American Main Street Award under his leadership. He recently became director of the Royal Oak Downtown Development Authority in Michigan.

Leave a Comment

Your email address will not be published. Required fields are marked *

*
*

This site uses Akismet to reduce spam. Learn how your comment data is processed.